V-Belt Pulleys for Taper Bushes, Profile B, SPB and XPB (17), 10 Grooves
Material: cast iron EN-GJL-250, phosphated.
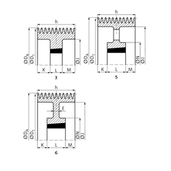
V-belt pulleys for taper bushes, for easy and fast mounting. The taper bush has to be ordered separately. Regarding DIN 2211, DIN 2217 and ISO 4183, matching to classical V-belts DIN 2215 and narrow V-belts DIN 7753-1 / ISO 4184. Also suitable for V-belts 5V/15N according to ARPM/MPTA. The nominal diameter D1 is the datum diameter.
| SKU | Qty of grooves | Nominal Ø D1 [mm] | Ø DA [mm] | Type | Bush [No.] | Shaft diameter range [mm] | E [mm] | h [mm] | J [mm] | K [mm] | L [mm] | M [mm] | N [mm] | Weight approx. [kg] |
|---|---|---|---|---|---|---|---|---|---|---|---|---|---|---|
| 151-B-10-200 | 10 | 200 | 207 | 3 | 3535 | 30 - 90 | - | 196 | 157 | 53,5 | 89 | 53,5 | - | 16,4 |
| 151-B-10-224 | 10 | 224 | 231 | 3 | 3535 | 30 - 90 | - | 196 | 181 | 53,5 | 89 | 53,5 | - | 24,0 |
| 151-B-10-236 | 10 | 236 | 243 | 3 | 3535 | 30 - 90 | - | 196 | 193 | 53,5 | 89 | 53,5 | - | 25,5 |
| 151-B-10-250 | 10 | 250 | 257 | 3 | 3535 | 30 - 90 | - | 196 | 207 | 53,5 | 89 | 53,5 | - | 29,5 |
| 151-B-10-280 | 10 | 280 | 287 | 6 | 3535 | 30 - 90 | 30 | 196 | 237 | 53,5 | 89 | 53,5 | 175 | 30,0 |
| 151-B-10-315 | 10 | 315 | 322 | 6 | 3535 | 30 - 90 | 30 | 196 | 272 | 53,5 | 89 | 53,5 | 175 | 37,0 |
| 151-B-10-335 | 10 | 335 | 342 | 6 | 4040 | 40 - 100 | 30 | 196 | 292 | 47 | 102 | 47 | 210 | 39,1 |
| 151-B-10-355 | 10 | 355 | 362 | 6 | 4040 | 40 - 100 | 30 | 196 | 312 | 47 | 102 | 47 | 210 | 40,0 |
| 151-B-10-400 | 10 | 400 | 407 | 6 | 4040 | 40 - 100 | 30 | 196 | 357 | 47 | 102 | 47 | 210 | 54,0 |
| 151-B-10-450 | 10 | 450 | 457 | 5 | 4545 | 55 - 110 | - | 196 | 407 | 41 | 114 | 41 | 242 | 61,0 |
| 151-B-10-500 | 10 | 500 | 507 | 5 | 4545 | 55 - 110 | - | 196 | 457 | 41 | 114 | 41 | 242 | 68,0 |
| 151-B-10-560 | 10 | 560 | 567 | 5 | 4545 | 55 - 110 | - | 196 | 517 | 41 | 114 | 41 | 242 | 82,0 |
| 151-B-10-630 | 10 | 630 | 637 | 5 | 4545 | 55 - 110 | - | 196 | 587 | 41 | 114 | 41 | 242 | 88,0 |
| 151-B-10-710 | 10 | 710 | 717 | 5 | 4545 | 55 - 110 | - | 196 | 664 | 41 | 114 | 41 | 242 | 100,0 |
| 151-B-10-800 | 10 | 800 | 807 | 5 | 4545 | 55 - 110 | - | 196 | 754 | 41 | 114 | 41 | 242 | 133,0 |
| 151-B-10-900 | 10 | 900 | 907 | 5 | 5050 | 70 - 125 | - | 196 | 854 | 34,5 | 127 | 34,5 | 267 | 144,0 |
| 151-B-10-1000 | 10 | 1000 | 1007 | 5 | 5050 | 70 - 125 | - | 196 | 954 | 34,5 | 127 | 34,5 | 267 | 185,0 |