Product image
Product image
Product image

Material: cast iron EN-GJL-250, phosphated.
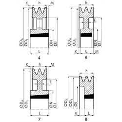
V-belt pulleys for taper bushes,for easy and fast mounting. The taper bush has to be ordered separately.Regarding DIN 2211, DIN 2217 and ISO 4183, matching to classical V-beltsDIN 2215 and narrow V-belts DIN 7753-1 / ISO 4184. The nominal diameter D1 is the datumdiameter.

1) Ø 63-67mm not for V-belts SPA and XPA.
2) Ø 71-85mm not for V-belts SPA.
3) Ø 63mm steel C45, phosphated.

As part of the product range expansion for this product group, new part numbers have been assigned. Here you will find a complete overview of the previous and new part numbers:

Overview Successors Taper V-Belt Pulleys
SKU Qty of grooves Nominal Ø D1 [mm] Ø DA [mm] Type Bush [No.] Shaft diameter range [mm] E [mm] h [mm] J [mm] K [mm] L [mm] M [mm] N [mm] Weight approx. [kg]
15320700 2 71 2) 76,5 8 1108 9 - 28 - 35 40 13 22 - - 0,50
15320800 2 80 2) 85,5 8 1210 10 - 32 - 35 50 10 25 - - 0,58
15320900 2 90 95,5 8 1610 12 - 42 - 35 59 10 25 - - 0,71
15321000 2 100 105,5 8 1610 12 - 42 - 35 66 10 25 - - 0,96
15321100 2 112 117,5 8 1610 12 - 42 - 35 78 10 25 - - 1,38
15321200 2 125 130,5 8 1610 12 - 42 - 35 91 10 25 - - 1,88
15321400 2 140 145,5 8 2012 12 - 50 - 35 106 3 32 - - 2,50
15321600 2 160 165,5 8 2012 12 - 50 - 35 125 3 32 - - 3,50
15321800 2 180 185,5 6 2012 12 - 50 10 35 146 1,5 32 1,5 108 4,00
15322000 2 200 205,5 7 2517 15 - 65 10 35 165 5 45 5 123 4,74
15322200 2 224 229,5 13 2517 15 - 65 18 35 189 - 45 10 124 5,45
15322500 2 250 255,5 4 2517 15 - 65 12 35 215 5 45 5 124 5,65
15322800 2 280 285,5 13 2517 15 - 65 12 35 245 - 45 10 124 6,20
15323100 2 315 320,5 13 2517 15 - 65 12 35 280 - 45 10 124 7,17
151-A-2-63 63 1) 3) 68,5 8 1008 9 - 28 - 35 32,5 13 22 - - 0,42
151-A-2-67 67 1) 72,5 8 1108 9 - 28 - 35 37 13 22 - - 0,44
151-A-2-75 75 2) 80,5 8 1108 9 - 28 - 35 44 13 22 - - 0,59
151-A-2-85 85 2) 90,5 8 1210 10 - 32 - 35 55 10 25 - - 0,75
151-A-2-95 95 100,5 8 1610 12 - 42 - 35 63 10 25 - - 0,85
151-A-2-106 106 111,5 8 1610 12 - 42 - 35 72 10 25 - - 1,20
151-A-2-118 118 123,5 8 1610 12 - 42 - 35 84 10 25 - - 1,58
151-A-2-132 132 137,5 8 2012 12 - 50 - 35 98 3 32 - - 2,07
151-A-2-150 150 155,5 8 2012 12 - 50 - 35 116 3 32 - - 2,99
151-A-2-170 170 175,5 8 2012 12 - 50 - 35 135 3 32 - - 3,20
151-A-2-190 190 195,5 6 2012 12 - 50 10 35 156 1,5 32 1,5 108 3,66
151-A-2-212 212 217,5 7 2517 15 - 65 18 35 177 5 45 5 123 5,22
151-A-2-236 236 241,5 14 2517 15 - 65 12 35 202 - 45 10 124 5,74
151-A-2-300 300 305,5 14 2517 15 - 65 12 35 265 - 45 10 124 6,86
151-A-2-355 355 360,5 13 2517 15 - 65 - 35 320 - 45 10 124 7,79
151-A-2-400 400 405,5 13 2517 15 - 65 - 35 365 - 45 10 124 9,89
151-A-2-450 450 455,5 13 2517 15 - 65 - 35 465 - 45 10 124 11,02
151-A-2-500 500 505,5 13 2517 15 - 65 - 35 525 - 45 10 125 13,10
151-A-2-630 630 635,5 4 3020 20 - 75 - 35 595 8 51 18 159,00 18,50